boote-forum.de - Das Forum rund um Boote  

Zurück   boote-forum.de - Das Forum rund um Boote > Dies & Das > Flohmarkt > Suche



Suche Was ich suche...

Antwort
 
Themen-Optionen
  #1  
Alt 23.01.2018, 19:57
Benutzerbild von heisenberg
heisenberg heisenberg ist offline
Commander
 
Registriert seit: 28.11.2013
Beiträge: 285
213 Danke in 124 Beiträgen
Standard S: Zylinderdeckel YAMAHA 4A

Hallo,

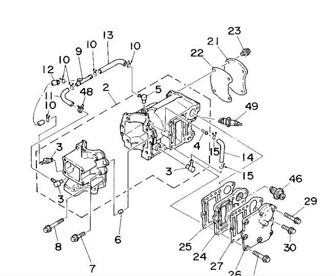
ich suche einen "Zylinderdeckel" für den YAMAHA 4A.
Ersatzteilnummer 6E0-11191-01
Klar, ich könnte den Deckel beim YAMAHA-Dealer meines Vertrauens für ca. 50,- EUR bestellen, aber vielleicht hat ja jemand von euch noch so einen alten Motor, vielleicht mit durchgegammeltem Zylinderkopf - der Deckel bleibt aber immer heil

Hier in der Zeichnung ist es die Position Nr. 21:



Baujahr ist egal, lediglich der Lack hat sich mal in den 90ern geändert...

Werner
Mit Zitat antworten top
Antwort



Forumregeln
Es ist Ihnen nicht erlaubt, neue Themen zu verfassen.
Es ist Ihnen nicht erlaubt, auf Beiträge zu antworten.
Es ist Ihnen nicht erlaubt, Anhänge hochzuladen.
Es ist Ihnen nicht erlaubt, Ihre Beiträge zu bearbeiten.

BB-Code ist an.
Smileys sind an.
[IMG] Code ist an.
HTML-Code ist aus.

Gehe zu

Ähnliche Themen
Thema Autor Forum Antworten Letzter Beitrag
Mercruizer 3.0 TKS neu ölt am Zylinderdeckel Kortikalis Motoren und Antriebstechnik 10 01.07.2014 07:24
Neue Schrauben für ZylinderKopf / Zylinderdeckel Suzuki DT 50 Lomac Motoren und Antriebstechnik 8 19.10.2012 19:50
Verkabelung Yamaha F50 F + Yamaha Cop Seebert Technik-Talk 0 09.07.2012 07:20
Yamaha 5,7l V8 und Yamaha Z-Antrieb Erfahrungen Frank033 Motoren und Antriebstechnik 2 15.09.2007 15:22


Alle Zeitangaben in WEZ +1. Es ist jetzt 00:15 Uhr.


Powered by vBulletin® Version 3.8.11 (Deutsch)
Copyright ©2000 - 2025, vBulletin Solutions, Inc.